Quy định chung cho máy kéo nén vạn năng
14:18 | 20/03/2023
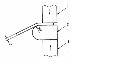
1. bộ kẹp
2. chày uốn
| Ký hiệu |
Tên gọi |
Đơn vị |
| a |
Chiều dày hoặc đường kính của mẫu thử (hoặc đường kính đường tròn nội tiếp đối với mẫu có mặt cắt ngang hình đa giác |
mm |
| b |
Chiều rộng mẫu thử |
mm |
| L |
Chiều dài mẫu thử |
mm |
| I |
Khoảng cách giữa hai gối đỡ |
mm |
| D |
Đường kính của chày uốn |
mm |
| a |
Góc uốn |
độ |
| r |
Bán kính trong của phần uốn của mẫu thử sau khi uốn |
mm |
| f |
Khoảng dịch chuyển của chày uốn |
mm |
| c |
Khoảng cách từ mặt phẳng chứa trục nằm ngang của các gối đỡđến đường tâm của phần được vê tròn của chày uốn trước khi thử |
mm |
| p |
Khoảng cách từ mặt phẳng thẳng đứng chứa đường tâm và trục thẳng đứng của từng gối đỡ tới mặt phẳng thẳng đứng chứa đường tâm ngang của chày uốn sau khi thử |
mm |
2. Cơ cấu uốn với hai gối đỡ và một chày uốn
2.1 Chiều dài của gối đỡ và chiều rộng của chày uốn phải lớn hơn chiều rộng hoặc đường kính của mẫu thử. Đường kính của chày uốn được xác định theo tiêu chuẩn sản phẩm. Gối đỡ và chày uốn mẫu thử phải đủ cứng (xem Hình 1).
2.2 Trừ khi có qui định khác, khoảng cách giữa hai gối đỡ, l, phải được tính theo công thức sau:
và không được thay đổi trong khi thử.
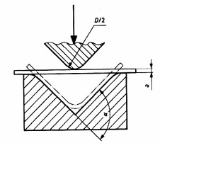
2.3 Cơ cấu uốn với một khối chữ V
Hai mặt vát của khối chữ V phải làm thành một góc 180° - a (xem Hình 2). Góc a được qui định trong tiêu chuẩn liênquan.
Gờ cạnh của khối chữ V phải có bán kính lượn bằng 1 đến 10 lần chiều dày của mẫu thử và phải cứng.
2.4 Cơ cấu uốn với một bộ kẹp
Cơ cấu gốm một bộ kẹp và một chày uốn đủ cứng; nó có thể được trang bị đòn bẩy để tác động vào mẫu thử (xem Hình 3).
Do vị trí của mặt bên trái của bộ kẹp có thể ảnh hưởng đến kết quả thử, mặt này (như được chỉ ra Hình 3) không được vươn tới hoặc vượt quá đường thẳng đứng qua tâm của phần cung tròn của chày uốn.
Một số hình ảnh thực tế về máy kéo nén vạn năng và bộ gá thử uốn:

Vui lòng liên hệ với chúng tôi để được tư vấn và hỗ trợ
⇒ Mr. Ba: 0948.27.99.88
⇒ Hoặc để lại lời nhắn chúng tôi sẽ gọi điện trực tiếp cho bạn. Xin trân trọng cảm ơn!